摘要:
邻近效应是双线传输线的两导体中,交流电流相互向相邻导体接近的现象。频率和磁导率愈高,电阻系数愈小,这种现象愈显著。
双线传输线的两根导线分别通过方向相反的交流电流时,各自产生的交变磁场相互在相邻的另一根导线上产生涡流。这种由相邻导线上的电流在本导线激发的涡流与本导线原有的工作电流叠加,使导体中的实际电流分布向截面中接近相邻导线的一侧(内侧)集中。邻近效应与集肤效应在传输线中往往是孪生现象,其结果是使导体的有效电阻增加,工作衰减增大。

相邻导线流过高频电流时,由于磁电作用使电流偏向一边的特性,称为“邻近效应”。如相邻二导线A,B流过相反电流IA和IB时,B导线在IA产生的磁场作用下,使电流IB在B导线中靠近A导线的表面处流动,而A导线则在IB产生的磁场作用下,使电流IA在A导线中沿靠近B导线的表面处流动。又如当一些导线被缠绕成一层或几层线匝时,磁动势随绕组的层数线性增加,产生涡流,使电流集中在绕组交界面间流动,这种现象就是邻近效应。邻近效应随绕组层数增加而呈指数规律增加。因此,邻近效应影响远比趋肤效应影响大。减弱邻近效应比减弱趋肤效应作用大。
由于磁动势最大的地方,邻近效应最明显。如果能减小最大磁动势,就能相应减小邻近效应。所以合理布置原副边绕组,就能减小最大磁动势,从而减小邻近效应的影响。
当相邻的导线流过电流时,会产生可变磁场,从而形成邻近效应,如果邻近效应发生在绕组层间时,其危害性是很大的。 邻近效应比集肤效应更严重,因为集肤效应只是将导线的导电面积限制在表面的一小部分,增加了铜损。它没有改变电流的幅值,只是改变了导线表面的电流密度。但相对来看,邻近效应中的涡流是由相邻绕组层电流的可变磁场引起的,而且涡流的大小随绕组层数的增加按指数规律递增。
物理学上,理论和实践都说明,设计工频变压器时使用的简单方法,对设计高频变压器不适用。在磁芯窗口允许情况下,应尽可能使用直径大的导线来绕制变压器。在高频应用中常导致错误,使用直径太大的导线,则会使层数增加,叠加和弯曲次数增多,从而加大了邻近效应和趋肤效应,就会使损耗增加。因此太大的线径和太小的线径一样低效。显然由于邻近效应和趋肤效应缘故,绕制高频电源变压器用的导线或簿铜片有个最佳值。
产生原理:
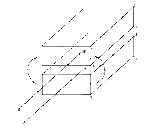
邻近效应的形成如下图所示。在两个平行导体中分别有电流流过、电流的方向相反(AA′和BB′)。为了使分析简化,假设图中的两个导体的横截面为很窄的矩形,距离较近,且导体可能是两个圆导线也可能是变压器绕组中两个紧密相邻的导线层。

根据电流的磁效应,对于下面的导体而言,周围产生磁场,磁力线从其侧面1、2、3、4穿出后进人上面导体的侧面,然后从对面穿出,最后又往下回到下面的导体。根据右手定则,磁场的方向是进人上面导体侧面的5、6、7、8方向。
根据法拉第定律,穿过平面5、6、7、8的可变磁场将位于该平面的任何导体上感应出电压。由楞次定律可得,感应电压的方向应为该电压产生的电流形成的磁场能抵消原有产生该感生电流的磁场。因此,平面5、6、7、8上的电流方向应该是逆时针的。在平面的下层电流方向(7→8)与上面导体的主电流方向(B→B′)相同,有增强主电流的趋势;而在平面的上层电流方向(5→6)与主电流相反,有减弱主电流的趋势。上述这个现象会发生在任何经过导体且与平面5、6、7、8平行叩平面上。
这样,导致的后果是:沿着上导体的下表面有涡流径向流动,方向是从7→8,然后它会沿着导体的上表面返回.但在上表面涡流被主电流抵消了。下导体的情况与此相同,在下导体的上表面有涡流径向流动,此涡流增强了上表面流过的主电流,但在导体的下表面,由于涡流与主电流方向相反,涡流被主电流抵消了。
因此,两个导体上的电流被限制在两者接触面表层的一小部分上,与集肤效应一样,表面的厚度与频率有关。
粤ICP备14074683号
粤公网安备44030702003267号
版权 2011-2026 深圳市小安电力应急服务有限公司 保留所有权利 Powered by www.phwl.net